奈良市消費者物価指数(閲覧方法)

e-Stat(政府統計の総合窓口)


1.消費者物価指数 月報(閲覧方法)

閲覧手順

1.  こちらをクリックしてしてください。

2. 閲覧したい調査年月をクリックしてください。(下記(1)参照)

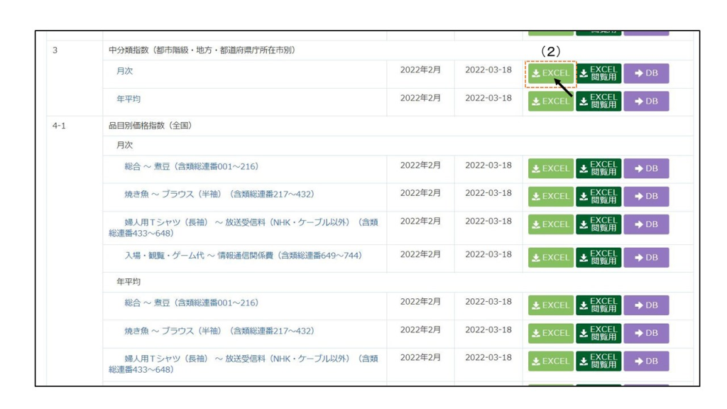
3. 「3.中分類指数(都市階級・地方・大都市圏・都道府県庁所在市別)」の「月次」のExcelボタンをクリックし、

  データをダウンロードしてください。(下記(2)参照)

 

   
     

 

 

2.消費者物価指数 長期時系列データ(閲覧方法)

閲覧手順

1. こちらをクリックして、上記のページにアクセスしてください。

2. Excelボタンをクリックして、データをダウンロードしてください。(下記(1)参照)

 

     

 

 


お問い合わせ

政策推進課
〒 630-8501 奈良市登大路町30

お問い合わせフォームはこちら


政策推進係 TEL : 0742-27-8472
広域調整係 TEL : 0742-27-8306
統計企画分析係 TEL : 0742-27-8439
人口統計係 TEL : 0742-27-8441
生活・産業統計係 TEL : 0742-27-8452